From seat belts and airbags to anti-lock brakes, modern cars come packed with a bewildering array of safety features designed to keep motorists and their passengers safe in a crash.
But it seems vehicles of the future could also help to protect pedestrians from harm too.
Ford, the car manufacturing giant, has revealed details of technology it is developing to reduce and even prevent injuries suffered by pedestrians should they be hit by a car.
The 'pedestrian protection system' uses cameras and sensors to detect if the vehicle is about to collide with someone on foot and deploy a series of 'countermeasures' to help keep them safe.
Engineers at the American firm plan to incorporate an inflatable bumper that bursts outwards to cushion the impact of the vehicle against the pedestrian's legs and airbags that pop out from the bonnet.
They have also developed a 'pop up' mechanism for car bonnets that lifts it up on springs to help absorb some of the force as pedestrians are thrown onto it in a collision.
This will combine an 'extendable hood' that will spring out to cover the bottom of the windscreen to protect a pedestrian's head if they are flung over the bonnet.
The technologies were revealed in a series of patents filed by Ford's engineers at its headquarters in Detroit.
It comes as Ford has revealed it will be including a new 'pedestrian detection system' in its 2018 Ford Mustang and the 2017 Ford Fiesta models.
This will use radar mounted in the bumper and camera to spot people walking on the road and automatically brake.
Writing in the patents, Ford said: 'Equipping vehicles to enhance pedestrian safety has been a subject of growing interest in recent years.
'Unfortunately existing pedestrian protection systems require vehicles to include bulky and unwieldy energy absorbing materials at a front end of a vehicle.'

The technologies were revealed in a series of patents (pictured) filed by Ford's engineers at its headquarters in Detroit. On board cameras and radar can detect pedestrians and calculate the risk of a collision
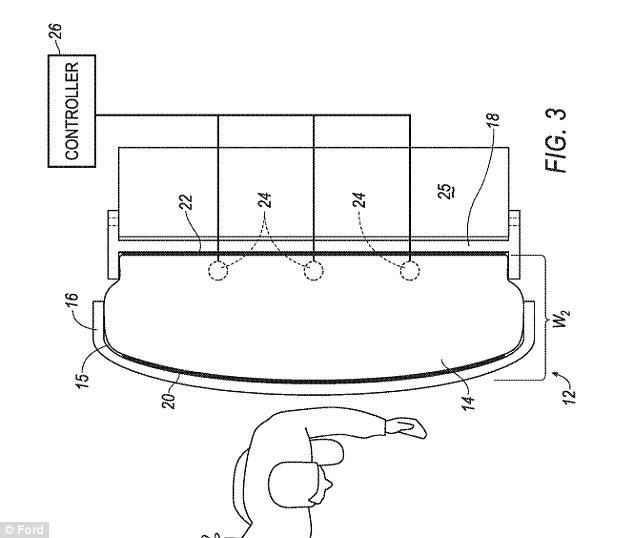
Ford's solution is to build an inflatable 'bolster' between the outer shell of the bumper and the inner part of the bumper.
When the vehicle collides with a pedestrian, this bumper would then be inflated to provide a softer impact, much like an airbag in the steering wheel.
While an inflatable bumper might invoke visions of pedestrians bouncing off into the path of other vehicles, Ford's patent insists it would collapse during the impact to absorb the energy, much like the airbag mounted in steering wheels inside cars do.
On board cameras and radar can detect pedestrians and calculate the risk of a collision, allowing the pedestrian protection system to be deployed moments before an impact.
Ford has already announced it will use similar cameras to in its Ford Fusion models in 2017, allowing them to detect potential collisions with people crossing the road and automatically brake.
The company's 'hood extender' is aimed at reducing the serious head injuries that can occur on when pedestrians hit the windscreen and metal base of the windscreen wipes.
It states: 'It has been estimated that for vehicle-to-pedestrian collision, eighty per cent of serious injuries occur to the pedestrian's head.'

'The deployable hood extender will reduce the rate of displacement of a pedestrian's head and dissipate the impact energy as the hood extender and its associated operative elements deform while in contact with a pedestrian.'
A final patent also proposes a bizarre 'upper leg catcher' system that would deploy a beam from the front of the vehicle above the bumper to soften the impact on a pedestrian.
This system would deploy a spring-loaded beam in front of the grille of the car when a pedestrian collision is sensed by the vehicle, helping to reduce the damage done to their upper legs.
Ford said it did not comment on technology under development.
Road safety experts welcomed the pedestrian protection system, but urged motorists not to become over-reliant upon technology when driving.
Kevin Clinton, head of road safety at the Royal Society for the Prevention of Accidents, said: 'Technology that helps to protect pedestrians has the potential to save lives and reduce injuries, but it is important to make sure that drivers do not over-rely on the technology.
'They are still responsible for remaining alert and driving safely.'
-Daily Mail